Труба JIS f 2804-1976 одиночная Bitt изготовила корабль Bitt кораблей перекрестный причаливая оборудование
Описание:
Bitts корабля JIS f 2804-1976 перекрестные как раз одно из нескольких стандарт bitts корабля перекрестных. Свой материал главным образом бросая сталь и чугун. Кроме того мы можем обеспечить вам пал согласно вашим специфическим требованиям. Если вы заинтересованы в любом из наших продуктов, то пожалуйста чувствуйте свободным связаться мы.
Главные технические данные:
1. Стандарт: JIS F 2804-1976;
2. Номинальные диаметры: 150 до 350mm;
3. Технический стандарт: GB 10106-88 & JIS F2804-76
4. Материал: Слабая сталь; Нержавеющая сталь;
5. Вес: 33 к 186kg;
6. Поверхностное покрытие: sandblasting к S2.5 + один слой отполированных праймера магазина эпоксидной смолы, зеркала или сатинировки, отполированного, гальванизированного, подгонянного поверхностного покрытия доступного.
7. Сертификаты классификации: CCS, NK, BV, ABS, DNV-GL, LR, KR, IRS, RS, Etc.
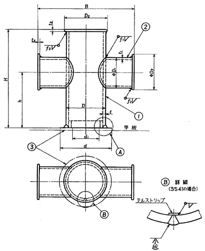
Основной технический параметр:
| Номинальный Dia. (mm) | Размер (mm) | Dia веревочки провода. (mm) | |||||||
| H | h | B | D | D1 | D2 | D3 | Вес (kg) | ||
| 150 | 480 | 280 | 460 | 165 | 114 | 206 | 158 | 33 | 16 |
| 200 | 560 | 320 | 520 | 216 | 165 | 256 | 206 | 60 | 22 |
| 250 | 640 | 360 | 610 | 267 | 216 | 308 | 256 | 102 | 28 |
| 300 | 680 | 380 | 660 | 318 | 267 | 360 | 308 | 154 | 34 |
| 350 | 720 | 420 | 720 | 355 | 267 | 400 | 312 | 186 | 38 |

Чертеж трубы JIS f 2804-1976 одиночной Bitt изготовил корабль Bitt кораблей перекрестный причаливая оборудование



