Вал муфты сцепления кулачка B205 установил тип одно подшипники пути муфты одного направления
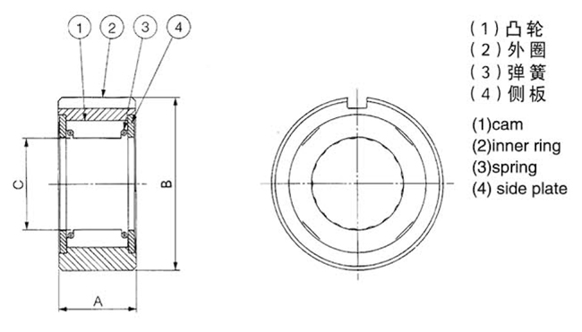
Описание продукции
Тип B200 не нося поддержанный тип подшашки freewheel. Подшашки бегут сразу на вале обеспеченном потребителем. Необходимы, что поддерживают подшипники осевое и радиальные нагрузки. Смазка и запечатывание должны также быть предусмотрены установкой.
Типичное расположение установить этот тип наряду с подшипником как показано на следующую страницу. Расквартировывая скважина для того чтобы получить наружную гонку подвергнется механической обработке с допуском H7. Ключ передаст вращающий момент. Вал на котором подшашки бегут должен иметь поверхностную твердость HRc 60 до 62 для законченной глубины минимума 0,6 mm. Твердость ядра должна быть HRc 35 до 45. Шероховатость поверхности не должна превысить CLA 22. Максимальный вал сплющивает 0,01 mm в длину 50 mm. Концентричность между валом и скважиной расквартировывать должна быть поддержана внутри TIR 0,05 mm.
Предпочитаемая смазка масло. Дизайн Stieber позволяет пользе большей части из общих смазок используемых в передаче энергии включая масла шестерни с добавками EP. В случае необходимости смазка тавота также возможна.
Установка и использование
муфта кулачка серии 1.B200 установленный вал, поэтому вал на котором муфта установлена необходимо затвердеть к mm глубины случая Rc 56-60 и 1,5 после молоть. Молотилка к (16micro-inch) финишу 1.5S. Конусность этого вала не должна превысить 0,01 mm в 50mm.
2. Для установки муфты установите муфту с подшипниками на обеих сторонах или на одной стороне для того чтобы получить концентричность между валом и гонкой муфты наружной и занять нагрузки радиальных или тяги которые могут работать на наружной гонке или вале. См. пример установки.
3. Муфта должна быть установлена на вале путем поворачивать ее в направлении отмеченном стрелкой показанной на диске муфты. Не приложите удар к муфте путем бить молотком.
4. Муфты имеют такие же внешние диаметры как подшипники показанные в таблице выше. Допуск скважины снабжения жилищем в котором муфта собрана должен находиться внутри ряд показанный в таблице ниже.
5. Для индицирования, смазка масла порекомендована.
6. Концентричность расквартировывая скважины и вала должна находиться не позднее 0,05 mm.
7. Ключевой профиль должен быть в соответствии с JIS B1301-1959
| Модель | Допуск расквартировывать скважину (mm) |
| B203, B204 | +0 до + 0,025 |
| B205, B206, B207, B208 | +0 до + 0,030 |
| B210, B211, B212, B213 | +0 до + 0,035 |
| B214 | +0 до + 0,040 |
Спецификации муфты кулачка 200 серий:
| Тип | Носить серию | Keyseats | Размер (mm) | Максимальн Вращающий момент (Nm) | Вращающий момент сопротивления (Nm) | Максимальн Overrunning Скорость (RPM) | Максимальн Индицирование (cpm) | Чистый вес (kg) | |||
| B | C (Dia. вала) | Вал | Наружная гонка | ||||||||
| B203 | 6203 | 4 x 2,5 | 25 | 40 | 16,51 | 39,2 | 0,098 | 2400 | 500 | 150 | 0,23 |
| B204 | 6204 | 5 x 3 | 25 | 47 | 18,796 | 58,8 | 0,098 | 2400 | 500 | 150 | 0,34 |
| B205 | 6205 | 5 x 3 | 25 | 52 | 23,622 | 98 | 0,196 | 1800 | 400 | 150 | 0,45 |
| B206 | 6206 | 7 x 4 | 28 | 62 | 32,766 | 235 | 0,196 | 1800 | 350 | 150 | 0,68 |
| B207 | 6207 | 7 x 4 | 28 | 72 | 42,088 | 372 | 0,196 | 1800 | 300 | 150 | 0,80 |
| B208 | 6208 | 10 x 4,5 | 32 | 80 | 46,761 | 549 | 0,196 | 1800 | 200 | 150 | 0,91 |
| B209 | 6209 | 10 x 4,5 | 32 | 85 | 46,761 | 549 | 0,196 | 1800 | 200 | 150 | 0,95 |
| B210 | 6210 | 10 x 4,5 | 32 | 90 | 56,109 | 784 | 0,294 | 1200 | 200 | 150 | 1,00 |
| B211 | 6211 | 10 x 4,5 | 32 | 100 | 56,109 | 784 | 0,294 | 1200 | 200 | 150 | 1,40 |
| B212 | 6212 | 10 x 4,5 | 42 | 110 | 70,029 | 1230 | 0,294 | 1200 | 180 | 150 | 1,80 |
| B213 | 6213 | 10 x 4,5 | 42 | 120 | 70,029 | 1230 | 0,294 | 1200 | 180 | 150 | 2,30 |
| B214 | 6214 | 12x 4,5 | 42 | 125 | 79,356 | 1390 | 0,392 | 1000 | 180 | 150 | 2,40 |





